This page is devoted to the electrical and mechanical aspects of
the AGC and DSKY, and more broadly, to the electrical and
mechanical aspects of the entire Apollo CM and LM G&N
(guidance and navigation) system.
This is an ongoing effort. The long-range goal — or perhaps
"wish" is a more-accurate term — is to provide the following
engineering resources:
Great strides have been made toward the goal, but it nevertheless
remains very distant. The far horizons grow no closer.
There are three methods, covered in the three sections below.
| ⇨ | Go to the Apollo G&N engineering-drawing title search-engine page |
Box 431, 102010-1000275 Box 432, 1000283-1002237
Box 433, 1002240-1002323
Box 434, 1002323-1002325
Box 435, 1002325-1002349
Box 436, 1002349-1003081
Box 437, 1003082-1003733
Box 438, 1003733-1005799
Box 439, 1006002-1006898
Box 440, 1006904-1007131
Box 441, 1007141-1007547
Box 442, 1007548-1008271
Box 443, 1008283-1010253
Box 444, 1010254-1010493
Box 445, 1010494-1011399
Box 446, 1011400-1014219
Box 447, 1014221-1014999
Box 448, 1015000-1015739
Box 449, 1015740-1016118
Box 450, 1016122-1019690
Box 451, 1019691-1021200
Box 452, 1021200-1897187
Box 453, 1897190-1900098
Box 454, 1900100-1900712
Box 455, 1900713-1900943
Box 456, 1900943-1901695
Box 457, 1901700-1902397
Box 458, 1902404-2003120
Box 459, 2003121-2005061 Box 460, 2005062-2007114
Box 461, 2007115-2007239 Box 462, 2007240-2010084
Box 463, 2010085-2012508
Box 464, 2012509-2014643
Box 465, 2014644-2015500
Box 466, 2015502-2018632
Box 467, 2018634-2021670
Box 468, 2021971-2900541
Box 469, 2900542-2901129
Box 470, 2901143-6010677
Box 471, 6010678-6015000
Box 472, 6015000-8106098
Box 473, JDC0001-JDC04390
Box 474, JDC4409-JDC10709
Box 475, JDC10710-JDC12621
Box 476, JDC12622-JDC18874
Box 477, JDC19021-MC25922
Mil-Spec drawings
Miscellaneous drawings
In this section, the engineering drawings for the onboard Guidance & Navigation (G&N) systems in the Command Module and Lunar Module are provided on a mission-by-mission basis. Note, though, that there are assemblies in the engineering-drawing set that don't form any part of the spacecraft's onboard G&N system, and those assemblies aren't covered in this section; an example would be the AGC's test set.
| G&N
System Part Number |
G&N
System Serial Number (Spacecraft, Mission) |
||||
|---|---|---|---|---|---|
| Block I CM Systems |
|||||
| 1014999-000 |
5 |
||||
| 1014999-011 |
6 |
||||
| 1014999-021 |
7 |
||||
| 1014999-031 |
8 |
||||
| 1014999-041 | 12 |
||||
| 1014999-051 |
17 (CSM-011, AS-202,
"Apollo 3") |
||||
| 1014999-061 | 20 | ||||
| 1014999-071 | 109 |
||||
| 1014999-081 | 110 (Qualification system) |
||||
| 1014999-091 | 111 (Qualification system) |
||||
| 1014999-101 | 121 |
||||
| 1014999-111 | 122 (CMO-17, Apollo 4) |
||||
| 1014999-121 | 123 (CMO-20, Apollo 6) |
||||
| Block II CM Systems | |||||
| 2014999-011 |
201 |
||||
| 2014999-021 | 202 (CSM-098, 2TV-1) |
||||
| 2014999-041 | 204 (CSM-101, Apollo 7) |
||||
| 2014999-051 | 205 (CSM-116, Skylab 2) |
||||
| 2014999-061 | 206 (CSM-106, Apollo 10) |
||||
| 2014999-071 | 207 |
||||
| 2014999-081 | 208 (CSM-103, Apollo 8) |
||||
| 2014999-091 | 209 (CSM-104, Apollo 9) |
||||
| 2014999-101 | 210 (CSM-107, Apollo 11) |
||||
| 2014999-111 | 211 (CSM-108, Apollo 12) |
||||
| 2014999-121 | 212 (CSM-109, Apollo 13) |
||||
| 2014999-131 | 213 (CSM-119, Skylab,
Rescue / ASTP Backup) |
||||
| 2014999-141 | 214 (CSM-110, Apollo 14) |
||||
| 2014999-151 | 215 (CSM-111, ASTP) |
||||
| 2014999-161 | 216 (CSM-113, Apollo 16) |
||||
| 2014999-171 | 217 (CSM-112, Apollo 15) |
||||
| 2014999-181 | 218 (CSM-114, Apollo 17) |
||||
| 2014999-191 | 219 (CSM-115) |
||||
| 2014999-201 | 220 (CSM-115A) |
||||
| 2014999-211 | 221 (CSM-117, Skylab 3) |
||||
| 2014999-221 | 222 (CSM-118, Skylab 4) |
||||
| LM Systems |
|||||
| 6014999-021 | 602 (LTA-8) |
||||
| 6014999-031 | 603 (LM-1, Apollo 5) |
||||
| 6014999-051 | 605 (LM-3, Apollo 9) |
||||
| 6014999-061 | 606 (LM-4, Apollo 10) |
||||
| 6014999-071 | 607 (LM-6, Apollo 12) |
||||
| 6014999-081 |
608 (LM-2) |
||||
| 6014999-091 | 609 (LM-5, Apollo 11) |
||||
| 6014999-101 | 610 (LM-7, Apollo 13) |
||||
| 6014999-111 | 611 (LM-8, Apollo 14) |
||||
| 6014999-121 | 612 (LM-15) |
||||
| 6014999-131 | 613 (LM-9) |
||||
| 6014999-141 | 614 (LM-10, Apollo 15) |
||||
| 6014999-151 | 615 (LM-11, Apollo 16) |
||||
| 6014999-161 | 616 (LM-12, Apollo 17) |
||||
| 6014999-171 | 617 (LM-13) |
||||
| 6014999-181 | 618 (LM-14) |
||||
drilldown.py ASSEMBLY >OUTPUT.htmlThe ASSEMBLY name consists of a drawing number to which a configuration number is suffixed. The only allowed drawing numbers come from the names of the files DrawingTree/*.csv. The only allowed configuration numbers come from the "columns" of the .csv file (if you were, for example, to load it into a spreadsheet program). For example, the file 2003200L.csv supports configuration numbers -011, -021, -031, -041, and -051, so you could generate JSON files for assemblies 2003200-011 through 2003200-051. You are unlikely to want the output HTML file, and thus can discard it. The JSON is always output with the filename drilldown-ASSEMBLY.json.
drilldown.py 6014999-091 >temp1.htmland could then use the command
drilldown.py 6014999-071 >temp2.html
drilldownCompare.py 6014999-091 6014999-071You would find a number of differences in doing so, but perhaps the one that interested you most might be that assembly 2003993-031 (the AGC) had changed to 2003993-051. If you now wish to compare those two AGC assemblies, recall that you need to generate the JSON for them ... which is easy, but is a hassle. However, the data for assemblies 2003993-031 and -051 is already contained within the existing JSON for 6014999-091 and -071, respectively, so drilldownCompare.py lets you take a bit of a shortcut:
drilldownCompare.py 6014999-091 6014999-071 2003993-031 2003993-051In doing this, you would find out that subassembly 2003983-021 had changed to 2003983-041, etc. The general syntax is
drilldownCompare.py ASSEMBLY1 ASSEMBLY2 [SUBASSEMBLY1 SUBASSEMBLY2]
A digression ....
Though not strictly related to the Apollo on-board computer
systems, nor to the larger topic of the Apollo Guidance &
Navigation System, the Virtual AGC Project is also making an
ongoing effort to scan all available Lunar Module engineering
drawings. These drawings, by Grumman Aircraft Engineering
Corporation (GAEC) and its suppliers, almost always use the
older acronym LEM (Lunar Excursion Module) rather than the newer
abbreviation LM ... and since I like "LEM" better than "LM"
myself, I'll use it whenever I'm talking about the LEM
engineering drawings.
At present, the LEM drawings are taken mostly from National
Archives and Records Administration Southwest aperture-card
(i.e., microfilm) boxes. There are about 300 boxes of such
drawings, nominally containing 1900 microfilm slides each, so
there over half a million LEM engineering images! If you
scroll down a bit, you'll find a huge table providing index
pages for each of the individual LEM aperture-card boxes ...
i.e., about 300 index pages, each providing lists of drawing
numbers, drawing titles, and links for around 1900 scans.
But before that, even though it goes without saying, I'd
comment that it would be tough to just wade into these hundreds
of thousands of drawings without knowing where to start.
Therefore, it's useful to know that the top-level
drawings for different generations of the LEM or LTA are:
Our document library also contains some documents complementary
to these engineering drawings that you may find useful, such as
a few of the System
Handbooks, Operations Handbooks, and Operational Data
Books specific to these LEMs. At this writing, for
example, there are the complete System Handbooks for LM-1, LM-3,
and LM-8, and some incomplete handbooks for various others of
the LEMs.
It's also worth noting that as an additional resource we've
made a LEM engineering-drawing
master-index file that consolidates the indexes for all of
the LEM boxes into a single file. This is particularly
useful since drawings are often filed in the wrong boxes, for
whatever reason, and so it could otherwise be very tricky to
find specific drawing numbers (or drawing titles). You
probably will not be able to view this (very large) master-index
file within your browser, but you can instead download it onto
your local computer system. Once downloaded, you can do
various useful things with it, such as:
Anyway, without further delay, here are index pages for the
individual LEM aperture-card boxes, to the extent that we've so
far scanned the boxes and put them online:
| Box 241 |
Box 242 |
Box 243 |
Box 244 |
Box 245 |
| Box 246 | Box 247 | Box 248 | Box 249 | Box 250 |
| Box 251 | Box 252 | Box 253 | Box 254 | Box 255 |
| Box 256 | Box 257 | Box 258 | Box 259 | Box 260 |
| Box 261 | Box 262 | Box 263 | Box 264 | Box 265 |
| Box 266 | Box 267 | Box 268 | Box 269 | Box 270 |
| Box 271 | Box 272 | Box 273 | Box 274 | Box 275 |
| Box 276 | Box 277 | Box 278 | Box 279 | Box 280 |
| Box 281 | Box 282 | Box 283 | Box 284 | Box 285 |
| Box 286 | Box 287 | Box 288 | Box 289 | Box 290 |
| Box 291 | Box 292 | Box 293 | Box 294 | Box 295 |
| Box 296 | Box 297 | Box 298 | Box 299 | Box 300 |
| Box 301 |
Box 302 | Box 303 | Box 304 | Box 305 |
| Box 306 | Box 307 | Box 308 | Box 309 | Box 310 |
| Box 311 | Box 312 | Box 313 | Box 314 | Box 315 |
| Box 316 | Box 317 | Box 318 | Box 319 | Box 320 |
| Box 321 | Box 322 | Box 323 | Box 324 | Box 325 |
| Box 326 | Box 327 | Box 328 | Box 329 | Box 330 |
| Box 331 Various (Grumman vendor drawings) |
Box 332 Various (Grumman vendor drawings) |
Box 332 Various (Grumman vendor drawings) |
Box
502 LDW140-11430 to LDW270-53010 |
Box
503 LDW270-53020 to LDW-280-10319 |
| Box
504 LDW280-10321 to LDW280-10743 |
Box
505 LDW280-10744 to LDW280-11216 |
Box
506 LDW280-1127 to LDW280-11532 |
Box
507 LDW280-11533 to LDW280-11869 |
Box
508 LDW280-11870 to LDW280-14316 |
| Box
509 LDW280-14317 to LDW280-16065 |
Box
510 LDW280-16066 to LDW280-17381 |
Box
511 LDW280-17382 to LDW280-17677 |
Box
512 LDW280-17682 to LDW280-18029 |
Box
513 LDW280-18030 to LDW280-18425 |
| Box
514 LDW280-18426 to LDW280-18797 |
Box
515 LDW280-18800 to LDW280-23074 |
Box
516 LDW280-23075 to LDW280-23543 |
Box
517 LDW280-23544 to LDW280-25661 |
Box
518 LDW280-25662 to LDW280-28176 |
| Box
519 LDW280-28178 to LDW280-28555 |
Box
520 LDW280-28559 to LDW280-28885 |
Box
521 LDW280-28887 to LDW280-51607 |
Box
522 LDW280-51608 to LDW280-52663 |
Box
523 LDW280-52665 to LDW280-53279 |
| Box 524 | Box 525 | Box 526 | Box 527 | Box 528 |
| Box 529 | Box 530 | Box 531 | Box 532 | Box 533 |
| Box 534 | Box 535 | Box 536 | Box 537 | Box 538 |
| Box 539 | Box 540 | Box 541 | Box 542 | Box 543 |
| Box 544 | Box 545 | Box 546 | Box 547 | Box 548 |
| Box 549 | Box 550 | Box 551 | Box 552 | Box 553 |
| Box 554 | Box 555 | Box 556 | Box 557 | Box 558 |
| Box 559 | Box 560 | Box 561 | Box 562 | Box 563 |
| Box 564 | Box 565 | Box 566 | Box 567 | Box 568 |
| Box 569 | Box 570 | Box 571 | Box 572 | Box 573 |
| Box 574 | Box 575 | Box 576 | Box 577 | Box 578 |
| Box 579 | Box 580 | Box 581 | Box 582 | Box 583 |
| Box 584 | Box 585 | Box 586 | Box 587 | Box 588 |
| Box 589 | Box 590 | Box 591 | Box 592 | Box 593 |
| Box 594 | Box 595 | Box 596 | Box 597 | Box 598 |
| Box 599 | Box 600 |
Box 601 | Box 602 | Box 603 |
| Box 604 | Box 605 | Box 606 | Box 607 | Box 608 |
| Box 609 | Box 610 | Box 611 | Box 612 | Box 613 |
| Box 614 | Box 615 | Box 616 | Box 617 | Box 618 |
| Box 619 | Box 620 | Box 621 | Box 622 | Box 623 |
| Box 624 | Box 625 | Box 626 | Box 627 | Box 628 |
| Box 629 | Box 630 | Box 631 | Box 632 | Box 633 |
| Box 634 | Box 635 | Box 636 | Box 637 | Box 638 |
| Box 639 | Box 640 | Box 641 | Box 642 | Box 643 |
| Box 644 | Box 645 | Box 646 | Box 647 | Box 648 |
| Box 649 | Box 650 | Box 651 | Box 652 | Box 653 |
| Box 654 | Box 655 | Box 656 | Box 657 | Box 658 |
| Box 659 | Box 660 | Box 661 | Box 662 | Box 663 |
| Box 664 | Box 665 | Box 666 | Box 667 | Box 668 |
| Box 669 | Box 670 | Box 671 | Box 672 | Box 673 |
| Box 674 | Box 675 | Box 676 | Box 677 | Box 678 |
| Box 679 | Box 680 | Box 681 | Box 682 | Box 683 |
| Box 684 | Box 685 | Box 686 | Box 687 | Box 688 |
| Scans
from non-NARA sources |
Beyond the Apollo G&N
System and LEM engineering drawings already covered, some other
Apollo engineering drawings have been accumulated over time as
well. For some of them I haven't created any nice index pages for them, nor
any index files that can be imported into a spreadsheet program,
so if you're interested you'll just have to browse through them
yourself ... or make an index and send it to me!
| Page | Number | Rev | Title | Notes |
|---|---|---|---|---|
| 2 | LIS-370-10007 | - | LEM-PGNS 800 CPS Power Electrical Interface | |
| 10 | MH01-01327-216 | - | Guidance & Navigation Electrical Input Power, Block II - MIT NAA | |
| 21 | LIS-390-10002 | - | PGNS Prime Power Requirements and Characteristics | |
| 29 | 392-20-0709 | - | Block II AC Power Supply Specs | |
| 30 | - | - | Specification Definitions | Hand-written page of notes |
| 31 | MC 25-868 | - | IRIG Preamplifier Specifications and Test Procedure | |
| 35 | PS2007019 | B | Procurement Specification, Product Configuration and Acceptance Test Requirements, Ducosyn Transformer Assembly, Drawing No. 2007019 | |
| 42 | PS2007060 | B | Procurement Specification, Product Configuration and Acceptance Test Requirements, PIP Preamp Assembly, Drawing Number 2007060 | |
| 53 | PS2007064 | G | Procurement Specification, Product Configuration and Acceptance Test Requirements, Temperature Control Module Assy, Drawing No. 2007064 | |
| 61 | PS2007101 | C | Procurement Specification, Product Configuration and Acceptance Test Requirements, DC Differential Amplifier and PVR Assembly, Drawing No. 2007101 | Change pages only |
| 63 | PS2007102 | E | Procurement Specification, Product Configuration and Acceptance Test Requirements, Assembly, Gyro Calibration, Drawing No. 2007102 | |
| 84 | PS2007103 | G | Procurement Specification, Product Configuration and Acceptance Test Requirements, Binary Current Switch, Drawing No. 2007103 | Change pages only |
| 86 | PS2007104 | E | Procurement Specification, Product Configuration and Acceptance Test Requirements, AC Differential Amplifier and Interrogator, Drawing No. 2007104 | Change pages only |
| 88 | PS2007105 | B | Procurement Specification, Product Configuration and Acceptance Test Requirements, C/M PIPA Calibration Module, Drawing No. 2007105 | Change pages only |
| 90 | PS2007106 | F | Procurement Specification, Product Configuration and Acceptance Test Requirements, Pulse Torque Power Supply, Drawing No. 2007106 | Change pages only |
| 93 | PS2007106 | - | Procurement Specification, Product Configuration and Acceptance Test Requirements, Pulse Torque Power Supply, Drawing No. 2007106 | |
| 112 | PS2007166 | D | Procurement Specification, Product Configuration and Acceptance Test Requirements, Pulse Torque Power Supply, Drawing No. 2007166 | |
| 133 | PS2007107 | C | Procurement Specification, Product Configuration and Acceptance Test Requirements, -28 Volt DC Assembly, Drawing No. 2007107 | Change pages only |
| 136 | PS2007107 | B | Procurement Specification, Product Configuration and Acceptance Test Requirements, -28 Volt DC Assembly, Drawing No. 2007107 | Rev A and B change pages only |
| 139 | PS2007107 | - | Procurement Specification, Product Configuration and Acceptance Test Requirements, -28 Volt DC Assembly, Drawing No. 2007107 | |
| 151 | PS2007108 | C | Procurement Specification, Product Configuration and Acceptance Test Requirements, Amplifier 3200 CPS 1% Assembly, Drawing No. 2007108 | Change pages only |
| 153 | PS2007108 | B | Procurement Specification, Product Configuration and Acceptance Test Requirements, Amplifier 3200 CPS 1% Assembly, Drawing No. 2007108 | |
| 163 | PS2007109 | F | Procurement Specification, Product Configuration and Acceptance Test Requirements, AAC Filter and Multivibrator 3200 CPS Assembly, Drawing No. 2007109 | Change pages only |
| 165 | PS2007109 | E | Procurement Specification, Product Configuration and Acceptance Test Requirements, AAC Filter and Multivibrator 3200 CPS Assembly, Drawing No. 2007109 | |
| 177 | PS2007110 | B | Procurement Specification, Product Configuration and Acceptance Test Requirements, Amplifier 800 CPS 1% Assembly, Drawing No. 2007110 | Change pages only |
| 179 | PS2007110 | A | Procurement Specification, Product Configuration and Acceptance Test Requirements, Amplifier 800 CPS 1% Assembly, Drawing No. 2007110 | |
| 189 | PS2007111 | B | Procurement Specification, Product Configuration and Acceptance Test Requirements, Amplifier 800 CPS 5% Assembly, Drawing No. 2007111 | Change pages only |
| 191 | PS2007111 | C | Procurement Specification, Product Configuration and Acceptance Test Requirements, Amplifier 800 CPS 5% Assembly, Drawing No. 2007111 | |
| 201 | PS2007112 | D | Procurement Specification, Product Configuration and Acceptance Test Requirements, AAC, Filter and Multivibrator 800 CPS Assembly, Drawing No. 2007112 | Change pages only |
| 203 | PS2007112 | C | Procurement Specification, Product Configuration and Acceptance Test Requirements, AAC, Filter and Multivibrator 800 CPS Assembly, Drawing No. 2007112 | |
| 215 | PS2007113 | B | Procurement Specification, Product Configuration and Acceptance Test Requirements, G&N Subsystem Supply Filter Module Assembly, Drawing No. 2007113 | |
| 224 | PS2007114 | C | Procurement Specification, Product Configuration and Acceptance Test Requirements, Gimbal Servo Amplifier, Drawing No. 2007114 | Change pages only |
| 227 | PS2007117 | C | Procurement Specification, Product Configuration and Acceptance Test Requirements, IMU Auxiliary Assembly, Drawing No. 2007117 | |
| 237 | PS2007118 | D | Procurement Specification, Product Configuration and Acceptance Test Requirements, Motor Drive Amplifier Assembly, Drawing No. 2007118 | Change pages only |
| 240 | PS2007118 | - | Procurement Specification, Product Configuration and Acceptance Test Requirements, Motor Drive Amplifier Assembly, Drawing No. 2007118 | |
| 255 | PS2007120 | B | Procurement Specification, Product Configuration and Acceptance Test Requirements, Optics Load Compensation Assembly, Drawing No. 2007120 | Change pages only |
| 258 | PS2007121 | B | Procurement Specification, Product Configuration and Acceptance Test Requirements, Two Speed Switch Assembly, Drawing No. 2007121 | Change pages only |
| 261 | PS2007121 | - | Procurement Specification, Product Configuration and Acceptance Test Requirements, Two Speed Switch Assembly, Drawing No. 2007121 | |
| 271 | PS2007122 | E | Procurement Specification, Product Configuration and Acceptance Test Requirements, Cosecant Generator Assembly, Drawing No. 2007122 | Change pages only |
| 274 | PS2007122 | - | Procurement Specification, Product Configuration and Acceptance Test Requirements, Cosecant Generator Assembly, Drawing No. 2007122 | |
| 284 | PS2007123 | B | Procurement Specification, Product Configuration and Acceptance Test Requirements, Relay Assembly, Drawing No. 2007123 | Change pages only |
| 286 | PS2007124 | B | Procurement Specification, Product Configuration and Acceptance Test Requirements, Anti-Creep Assembly, Drawing No. 2007124 | Change pages only |
| 289 | PS2007125 | - | Procurement Specification, Product Configuration and Acceptance Test Requirements, Modulator and Loop Compensation Assembly, Drawing No. 2007125 | |
| 300 | PS2007126 | C | Procurement Specification, Product Configuration and Acceptance Test Requirements, Optics Automatic Operate Relay Assembly, Drawing No. 2007126 | Change pages only |
| 303 | PS2007128 | B | Procurement Specification, Product Configuration and Acceptance Test Requirements, SCT Moding Assembly, Drawing No. 2007128 | Change pages only |
| 306 | PS2007131 | - | Procurement Specification, Product Configuration and Acceptance Test Requirements, Photometer Electronics Assembly, Drawing No. 2007131 | |
| 316 | PS2007132 | B | Procurement Specification, Product Configuration and Acceptance Test Requirements, IMU Load Compensation Module, Drawing No. 2007132 | |
| 322 | PS2007161 | B | Procurement Specification, Product Configuration and Acceptance Test Requirements, Reticle Light Dimmer Assembly, Drawing No. 2007161 | Change pages only |
| 325 | PS2007161 | A | Procurement Specification, Product Configuration and Acceptance Test Requirements, Reticle Light Dimmer Assembly, Drawing No. 2007161 | |
| 332 | PS2007170 | D | Procurement Specification, Product Configuration and Acceptance Test Requirements, Temperature Alarm Module Assy, Drawing No. 2007170 | |
| 341 | PS2007171 | E | Procurement Specification, Product Configuration and Acceptance Test Requirements, Blower Control Module Assy, Drawing No. 2007171 | |
| 349 | PS2007172 | C | Procurement Specification, Product Configuration and Acceptance Test Requirements, Blower Control Module Assy, Drawing No. 2007172 | |
| 357 | PS2007204 | A | Procurement Specification, Product Configuration and Acceptance Test Requirements, Precision Resolver Alignment Assembly, Drawing No. 2007204 | |
| 363 | PS2010734 | C | Procurement Specification, Product Configuration and Acceptance Test Requirements, Motor Drive Amplifier Assembly, Drawing No. 2010734 | Change pages only |
| 366 | PS6007005 | B | Procurement Specification, Product Configuration and Acceptance Test Requirements, Pulse Torque Isolation Transformer Assembly, Drawing No. 6007005 | Change pages only |
| 368 | PS6007105 | C | Procurement Specification, Product Configuration and Acceptance Test Requirements, LEM PIPA Calibration Module, Drawing No. 6007105 | Change pages only |
| 370 | PS6007114 | F | Procurement Specification, Product Configuration and Acceptance Test Requirements, G&N Subsystem Supply Filter Module Assembly, Drawing No. 6007114 | Change pages only |
| 372 | PS6007113 | - | Procurement Specification, Product Configuration and Acceptance Test Requirements, G&N Subsystem Supply Filter Module Assembly, Drawing No. 6007113 | |
| 380 | PS6007114 | E | Procurement Specification, Product Configuration and Acceptance Test Requirements, G&N Subsystem Supply Filter Module Assembly, Drawing No. 6007114 |
You may ask why there is no extensive tranche of engineering
drawings for the CSM included? That's because the National
Archives has been scanning CSM aperture cards as a separate
effort, independent of the scanning of the LEM
engineering-drawing aperture cards. Because I'm not
involved in their scanning, I have not been able to arrange
access to those CSM scans. NARA has a plan to make all of
the digitized material available online ... someday.
Whether those materials will be free of charge or not, other
than the G&N and LEM scans, I do not know. At this
writing, only a fraction of the CSM cards have been scanned, and
I wouldn't be surprised if we have to wait a long, long time to
see them. So the only CSM scans presently available are
those that were acquired from other sources.
We do, however, have a breakdown of at least a portion of North
American's otherwise-mysterious numbering scheme for their CSM
drawings (to enlarge, click on on the image to the right).
I say it covers only a "portion" of the scheme because it
immediately fails to explain numbers like "V34-900001"
referenced at the top of this section ... presumably because
that document does not relate to a specific physical item
installed in the CSM. But this chart comes from North
American's much-more-extensive "Apollo
Electrical Installation" manual, which has additional
information beyond just the chart.
The official AGC/DSKY electro-mechanical drawings available to us at the present time are these:
Finally, you'll notice that almost every one of the original
electrical drawings includes the notation "INTERPRET DRAWING IN
ACCORDANCE WITH STANDARDS PRESCRIBED BY MIL-D-70327":
The index pages and search engine for engineering
drawings are organized by drawing number. Most of
the G&N drawing numbers (from MIT/IL, AC Electronics,
Kollsman, etc.) are 7-digit numbers. Block I drawings
generally have numbers like 10xxxxx, while Block II
drawings generally have numbers like 20xxxxx, although
other drawings (such as Specification Control Drawings, SCDs) are
also mixed into that numbering system as 10xxxxx numbers as
well. Drawings for military specifications, from North
American, from Grumman, and so on, use other numbering systems.
In the simplest
case, a "drawing" is just a sheet of paper that has been scanned
and is presented as a single scanned image. However, there
are more-complicated cases as well, in which case a single drawing
number might be represented as several or even as many, many
scanned images:
Note that the
descriptive text in the "Link" column of the various index tables
isn't really very significant. If the scan is simply a
stand-alone file on this
Virtual AGC Project website, the link text reads "drawing",
while if it is instead a page within a larger batch of drawings at
our
Internet Archive site, then it is the page number within the
specific batch of scans it originally belonged to. There are
no references to drawings (if any) that may exist at unaffiliated
websites. Regardless, just ignore the text of the link and
click on it!
By the way, if
you should happen to download an image from the Internet Archive
site by using your browser's "save image as" function, or if you
try to download a PDF from there, if you're not careful you will
probably get a very low-quality (though usually adequate) image
rather then the full-resolution scan. To avoid or reduce
this quality reduction in downloading from our Internet Archive
site, you can do one of the following:
PARTNUMBER-DASHNUMBER REVISION
For example, Block II AGCs had PARTNUMBERs 2003100,
2003200, and 2003993, with DASHNUMBERs like -011, -021,
-031, and so on. REVISIONs were letter codes, such
as A, B, C, etc., or else a dash (-) for "no revision". For
example,
2003200-011A
Given a part number for a particular AGC (or DSKY) model, the
part number then relates to a set of sub-assemblies (often
represented by electrical schematics or mechanical drawings), many
of which are circuit modules, which themselves may have varying
versions over time, and have part-numbers like
PARTNUMBER REVISION
For example, the AGC with p/n 2003200-011A contained, among other
things, an "oscillator module" which fit into a backplane socket
labeled B7, and which itself had a p/n 2005003E ... and naturally,
we have drawing 2005003E if you want to see it.
In general, those DASHNUMBERs cover different
configurations handled within the same engineering drawing.
For example, drawing 2003100 might cover both configurations -011
and -021, and you'd have to read the drawing itself to understand
how unit 2003100-021 differs from unit 2003100-011.
With rare exceptions, different REVISIONs of a drawing do
not introduce any design changes within a specific configuration,
but may be used to cumulatively add a new configuration. In
other words, as long as a particular revision of a drawing
contains the configuration you're interested in, it doesn't really
matter (usually) that later revisions of a drawing may also exist,
because later revisions won't differ substantively as far as any
given configuration is concerned.
In addition to providing scans of original electrical and
mechanical drawings from the Apollo program, there is an ongoing
effort to transcribe these drawings into CAD files.
Such CAD transcriptions are made as faithfully visually to the
original as is feasible, given the capabilities of the CAD program
involved, as long as there is no compromise of electrical or
mechanical correctness. But realize that transcription is a
human effort, so transcribed CAD files may at first contain
errors; conversely, they may from time to time correct errors
present in the original drawings — naturally, though, with
suitable notes indicating that the change had been made, and
why. It has also been possible occasionally to reconstruct
some currently-missing drawings from the original Apollo Program.
As far as electrical CAD files are concerned, no community effort
has developed to transcribe the electrical drawings into CAD, but
it now appears as though one isn't really needed since I'm sure I
can do them all myself ... eventually. You can simply treat
the CAD files as resources which appeared from nowhere, but which
you are free to use or modify for your own purposes.
To do so, the open-source KiCad
electrical-design software is used. It is available,
for free of course, on Windows, Mac OS X, and all of the major
flavors of Linux. The electrical schematics which have been
transcribed into CAD, or are in the process of being transcribed,
are stored in our GitHub repository:
The CAD drawings are typically rendered as PNG images as well,
and provided separately for convenient
browsing.
There's plenty of online material to help you get started with
KiCad, if you're inclined to do anything more with the CAD files
as such. Here's the executive summary of what you need to
know if you want to specifically work with our electrical
schematics in KiCad:
Though no help in transcription is really needed, help in
proof-reading and/or correcting the CAD files vs the original
drawings is welcomed, and you can contact me directly at the
address at the bottom of this page if you're interested.
Just proof-reading doesn't actually require using CAD or even
having expert electrical knowledge. It just involves
comparing two images like the ones below and seeing how they
differ from each other (click to enlarge):
We presently have no 2D CAD transcriptions of the original
AGC/DSKY mechanical drawings. If you would like to make some
2D CAD transcriptions of the mechanical drawings, I am happy to
accept them for inclusion in the collection. Any such CAD
files will be stored and made available in a folder in the
"mechanical" branch of our GitHub repository:
| ⇨ | 2D CAD Drawing Repository |
I would ask that submissions conform to the following:
| ⇨ | 3D Model Repository |
The best procedure for making your submissions to the repository
is this:
Surprisingly, digital simulation of the electronics turns out not
to be incredibly difficult. Nevertheless, discussion of the
topic can be rather involved, so to keep this page relatively
short (really!), a separate page is
devoted to discussing digital simulation.

The trays contain connectors allowing A to be connected to B, or
vice-versa, and to the outside world. Each tray also
contains a "backplane" into which electronics modules can be
plugged. The A-tray modules have designations like A1, A2,
..., A31, while the B-tray modules have designations like B1, B2,
..., B17.

Each of these modules has an associated drawing. For
example, in the 2003200-011 AGC, module A1 (the "scaler" module)
has electrical drawing 2005259A. In other words, each module
is considered to comprise a single circuit, with a unique (though
possibly multi-sheet) drawing.
Modules A1 - A24 consist entirely of "logic": i.e., their
electrical drawings consist entirely of NOR-gates and the
connectors for plugging the modules into the
backplane. For this reason, I suppose, the
drawings aren't called "schematics", but are often given the
special name "LOGIC FLOW DIAGRAMS". But they're schematics
anyway. Modules A25 - A31 and B1 - B17 are entirely analog
in nature and are specifically called "SCHEMATICS".
As far as the construction of the circuitry is concerned, three
basic techniques were intermixed:



Of course, these details don't matter much in modern terms unless
you're very enthusiastic about building an AGC re-creation
and want to do it absolutely 100% authentically. If you
were, you would be defeated in the end by the fact that the
electronic components originally used, such as the dual
triple-input NOR gates, are no longer available in precisely the
form they were originally used. And while I haven't priced
core memory lately, I expect that it's probably not terribly
cost-effective.
Though, surprisingly, you can get junked
core-memory systems from eBay; not from the AGC, naturally, but
perhaps close enough that they could be made to work if mined for
parts.
The pictures in this section, taken by Mike Stewart, are of
Jimmie Loocke's model 2003100-071 AGC, s/n 14.
| Module Description |
Related ND-1021041 Figures |
|---|---|
| D1 - D3: Decoding |
|
| D4 - D6: Decoding |
|
| D7 - D10: Relays | |
| D11 - D14: Relays |
|
| D15: Power Supply |
|
| D16: Power Supply |
|
| D17: Keyboard |
|
| D18: Keyboard |
This is an interesting version of the AGC, in that the logic
circuitry was constructed in a very different fashion than later
dash numbers of 2003100 (and the later versions 2003200 and
2003993) were. Those later versions used multi-layer printed
circuit boards to hold the integrated circuits, whereas this
version interconnected them via a nickel ribbon. The nickel-ribbon design turned
out to have too much capacitance, resulting in excessive signal
delay, and the design didn't function in practice.
This is what resulted in the introduction of multi-layer printed
circuit boards instead. That's not to say, of course, that
there's anything wrong with the electrical schematics for this
design, since the physical construction of the circuitry is
basically outside the scope of the electrical schematics.
I'm told that all existing functional 2003100 AGC units are of the
multi-layer printed-circuit variety.
In addition to the nickel-ribbon interconnect, the circuitry for
the various modules was actually divided into four separate
"quadrants" of circuitry, which were mostly rather independent but
did have some interaction with each other. Later designs
removed the concept of quadrants altogether.
Besides the reference sources
mentioned earlier, AC
Electronics
document ND-1021043 of March 10, 1966, supposedly relates to
AGC p/n 2003100-021 (according to its Tables 3-I and 7-I), and its
Table 8-II lists all of the associated module drawings. But
I don't believe there are any differences between the circuitry it
presents and that presented by ND-1021042.
Finally, there's the question of "signal wiring diagrams".
These are related to the nickel-ribbon interconnect described
above. To understand what that is and how to read one, consult the
Appendix. It
should be noted that because of the later reworking of the design
to replace the nickel-ribbon interconnect with a multi-layer
printed circuit board, the reference designators and pin numbering
from later versions is not closely related to numbering of this
version of the design.
| Module Description |
Related ND-1021042 Figures |
|---|---|
| A1: Scaler Module |
4-120 |
| A2: Timer |
4-119,
4-120,
4-122,
4-159 |
| A3: S Q Register and
Decoding |
4-122, 4-128, 4-129, 4-131, 4-132, 4-221 |
| A4: Stage Branch Decoding |
4-130,
4-131,
4-132,
4-134,
4-135,
4-136,
4-152,
4-153 |
| A5: Cross Point Generator
I |
4-132,
4-134,
4-135,
4-147,
4-156 |
| A6: Cross Point Generator
II |
4-134,
4-135,
4-153,
4-200,
4-207 |
| A7: Service Gates |
4-134,
4-143,
4-144,
4-145,
4-146,
4-148,
4-149,
4-152,
4-153,
4-153B,
4-155,
4-175 |
| A8: 4 Bit Module |
4-142,
4-153A,
4-208 |
| A9: 4 Bit Module |
4-142,
4-153A,
4-175 |
| A10: 4 Bit Module |
4-142,
4-153A,
4-175 |
| A11: 4 Bit Module |
4-142,
4-175 |
| A12: Parity and S Register |
4-122,
4-136,
4-142,
4-149,
4-150,
4-154,
4-155,
4-157 |
| A13: Alarms |
4-120,
4-124,
4-159,
4-166,
4-221 |
| A14: Memory Timing and
Addressing |
4-141,
4-142,
4-155,
4-166,
4-200,
4-206,
4-207,
4-208,
4-218 |
| A15: RUPT Service |
4-133,
4-141,
4-142,
4-153C,
4-155A,
4-163,
4-209 |
| A16: In/Out I |
4-172,
4-176,
4-178,
4-179 |
| A17: In/Out II |
4-155,
4-172,
4-174,
4-177,
4-178,
4-185 |
| A18: In/Out III |
4-120,
4-124,
4-172,
4-173,
4-181,
4-186,
4-190,
4-218 |
| A19: In/Out IV |
4-120,
4-124,
4-178,
4-182,
4-183,
4-184,
4-187,
4-189 |
| A20: Counter Cell I |
4-164 |
| A21: Counter Cell II |
4-133, 4-164, 4-221 |
| A22: In/Out V |
4-159,
4-180,
4-187,
4-190 |
| A23: In/Out VI |
4-120,
4-153C,
4-172,
4-175,
4-178,
4-186,
4-189,
4-190 |
| A24: In/Out VII |
4-120,
4-122,
4-124,
4-135,
4-153B,
4-159,
4-165,
4-166,
4-171,
4-175,
4-178,
4-190 |
| B7: Oscillator |
4-118 |
| B8: Alarms |
4-170 |
| Module Description |
Related ND-1021042 Figures |
|---|---|
| A1: Scaler Module |
4-120 |
| A2: Timer |
4-119,
4-120,
4-122,
4-159 |
| A3: S Q Register and
Decoding |
4-122, 4-128, 4-129, 4-131, 4-132, 4-221 |
| A4: Stage Branch Decoding |
4-130,
4-131,
4-132,
4-134,
4-135,
4-136,
4-152,
4-153 |
| A5: Cross Point Generator
I |
4-132,
4-134,
4-135,
4-147,
4-156 |
| A6: Cross Point Generator
II |
4-134,
4-135,
4-153,
4-200,
4-207 |
| A7: Service Gates |
4-134,
4-143,
4-144,
4-145,
4-146,
4-148,
4-149,
4-152,
4-153,
4-153B,
4-155,
4-175 |
| A8: 4 Bit Module |
4-142,
4-153A,
4-208 |
| A9: 4 Bit Module |
4-142,
4-153A,
4-175 |
| A10: 4 Bit Module |
4-142,
4-153A,
4-175 |
| A11: 4 Bit Module |
4-142,
4-175 |
| A12: Parity and S Register |
4-122,
4-136,
4-142,
4-149,
4-150,
4-154,
4-155,
4-157 |
| A13: Alarms |
4-120,
4-124,
4-159,
4-166,
4-221 |
| A14: Memory Timing and
Addressing |
4-141,
4-142,
4-155,
4-166,
4-200,
4-206,
4-207,
4-208,
4-218 |
| A15: RUPT Service |
4-133,
4-141,
4-142,
4-153C,
4-155A,
4-163,
4-209 |
| A16: In/Out I |
4-172,
4-176,
4-178,
4-179 |
| A17: In/Out II |
4-155,
4-172,
4-174,
4-177,
4-178,
4-185 |
| A18: In/Out III |
4-120,
4-124,
4-172,
4-173,
4-181,
4-186,
4-190,
4-218 |
| A19: In/Out IV |
4-120,
4-124,
4-178,
4-182,
4-183,
4-184,
4-187,
4-189 |
| A20: Counter Cell I |
4-164 |
| A21: Counter Cell II |
4-133, 4-164, 4-221 |
| A22: In/Out V |
4-159,
4-180,
4-187,
4-190 |
| A23: In/Out VI |
4-120,
4-153C,
4-172,
4-175,
4-178,
4-186,
4-189,
4-190 |
| A24: In/Out VII |
4-120,
4-122,
4-124,
4-135,
4-153B,
4-159,
4-165,
4-166,
4-171,
4-175,
4-178,
4-190 |
| A25 - A26: Interface |
4-191, 4-218, 4-225, 4-227 |
| A27 - A29: Interface |
4-192 |
| A30 - A31: Power Supply |
4-219B, 4-220B |
| B1 - B6: Rope Memory |
4-210, 4-211, 4-212, 4-213, 4-214 |
| B7: Oscillator |
4-118 |
| B8: Alarms |
4-221 |
| B9 - B10: Erasable Drivers |
4-202 |
| B11: Current Switch |
4-202 |
| B12: Erasable Memory |
4-205 |
| B13: Sense Amplifier |
4-204, 4-205 |
| B14: Sense Amplifier |
4-215, 4-216 |
| B15: Strand Select |
4-210, 4-215 |
| B16 - B17: Rope Driver |
4-211, 4-212, 4-213, 4-214 |
| Module Description |
Related ND-1021042 Figures |
|---|---|
| D1 - D6: Indicator Driver |
4-225, 4-226, 4-227, 4-229, 4-230, 4-231 |
| D7: Power Supply Module |
4-232 |
| D8: Keyboard Module |
4-224 |
Note that there is also an ECP 483 for p/n 203993 listed in Table
8-II of document ND-1021042 (from which the information above
came), but I haven't been able so far to find out what it is, nor
at what dash number of 2003993 it became effective.
This section describes an issue that affects only
so-called "logic flow diagrams" (rather than analog-circuitry
schematics), and only early Block II AGC models and CDUs.
First, an elementary introductory digression, for anyone who
isn't an electronics expert but has persevered in reading to this
point.
When designing electronic circuitry, it is customary to assign
each electrical component in the circuit a unique "reference
designator" (or "refd", pronounced REF-DEE, for short), and to
refer to the components by those refd's. The refd's can be
anything, but customarily they consist of a letter to indicate the
general type of component — R for resistors, C for capacitors, D
(or perhaps CR) for diodes, and so on — followed by a number to
indicate which specific component it is within the circuit.
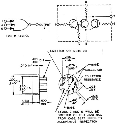
For example, in the typical kind of circuit diagram shown to the
right, you see resistors R1 through R7, capacitor C3, transistors
Q1 through Q3, and so on.
Integrated circuits (IC's) typically have U as the alphabetical
prefix, thus you might have integrated circuits U1, U2, U3, etc.
One thing that happens sometimes is that a given component might
actually be a conveniently packaged-together collection of several
essentially interchangeable simpler parts. For example, a
"dual NOR gate" integrated circuit would be a device that provides
two separate NOR gates, which are independent of each other but
are packaged together to save space or cost or for some other
reason of convenience. When that happens, the overall
integrated circuit still has a U-based refd, perhaps U3, but the
two NOR-gates comprising it each have refd's of their own, which
would normally be U3A and U3B.
The example of a NOR-gate wasn't
chosen arbitrarily. In fact, since integrated circuits were a
pretty new development during the early Apollo Program, and were
still suspiciously unreliable and quite expensive, the AGC
circuitry originally didn't use any of them. Eventually,
though, the relentless pressure to miniaturize forced integrated
circuits into the design. As it happens, the AGC ended up
using a single type of integrated circuit (the DSKY used none at
all), though it used lots of them. As you've
probably guessed, that one type of IC was in fact a dual
triple-input NOR gate.
(Actually, that's a bit of an over-simplification, though it's
largely true for our purposes. In fact, the Block II AGC
used dual NOR gate integrated circuits, as stated, but the Block I
AGC used integrated circuits containing a single NOR-gate
each. Besides that, the sense amplifier modules used
comparatively small numbers of sense-amplifier integrated
circuits, whose internal composition is depicted in the figure to
the right. The sense amplifier integrated circuit was
exactly as complex as a dual triple-input NOR gate integrated IC,
in that each of them contained 6 NPN transistors and 8 resistors
... which is just an interesting factoid and is neither here nor
there. For the purposes of our present discussion, neither
the Block I NOR gates nor the sense-amplifier ICs are of any
relevance whatever.)
I won't bore you by telling you about the general properties of
NOR gates, but to understand the discussion in this section you do
need to know a couple of different things about them.
Firstly, in the AGC schematics a NOR gate is symbolized either as

To get a sense of this, to the right there are two versions of
a sample (nonsense) circuit consisting of NOR gates, one with
refd's and pin numbers, and one without. In the right-hand
version, we know, for example, that pin U1A-J is connected to
pins U1B-F, U2A-F, and U2B-F. In the left-hand version we
know that the output from one NOR gate is connected to some
input or other on each of the other NOR gates. Imagine
trying to repair or discuss the left-hand version!
As far as the operation of the circuit is concerned, of course,
it makes no difference at all whether or not those refd's or pin
numbers are there, because all of the NOR gates are
interchangeable and all of the inputs to them are
interchangeable, so the OUTPUT we get from any given INPUT is
still exactly the same.
In the same way, you personally may not care one way or the
other which specific NOR gate is used for any given purpose in
the AGC circuitry, nor may you care which input pin is which on
those NOR gates. If that's so, you don't need to read any
further ... just go back to looking at the schematics presented
above on this page and enjoy!
But the truth is that the original AGC developers did care
which NOR gate was which and what pin number was what ... it's
just that for some reason they didn't find it convenient to put
that information directly into some of the schematic diagrams
for AGC p/n 2003100, and hence they chose to provide it through
some other mechanism. That mechanism is the so-called
"signal wiring diagram", and each of the schematic drawings in
the AGC 2003100 containing NOR gates had an associated signal
wiring diagram. Below, there's a "typical" (actually,
slightly more legible than usual) portion of a signal wiring
diagram:

You may be forgiven for thinking that this makes the situation
even more confusing to deal with, particularly since you are
quite correct about it, but it helps if you know how to read
it! When you know how to read it, it tells you which
NOR-gates are paired into which in the dual NOR-gate IC's, which
of the pair is the "A" member of the duet and which is the "B"
member, and which pin numbers the signals are hooked up to.
It doesn't tell you exactly how to specify the refd's of the
dual-NOR IC's, but we know from other versions of the AGC
roughly how they did that, so we'll talk about that later.
The first thing to notice is that one side of the diagram is
marked as LEFT and the other as RIGHT. In this drawing,
LEFT is at the bottom and RIGHT is at the top, but in other
drawings that's reversed, so try to think only of LEFT and RIGHT
instead of bottom and top.
Next, notice the little numbers written along the LEFT or
bottom edge (39155, 39145, 39149, ...) and RIGHT or top edge
(39156, 19151, 39152, ...). Those numbers are actually
written on the NOR gates in the schematics, in lieu of refd's,
and each individual NOR gate is identified uniquely by these
numbers. These are called "gate numbers". So, a pair
of such gate numbers could uniquely specify a dual-NOR
gate. The RIGHT numbers are the "A" NOR gates, and the
numbers opposite them on the LEFT are the associated "B" NOR
gates within the same dual NOR IC.
Before talking about the other stuff written on the diagram,
let's talk a little more about the dual-NOR ICs. The AGC's
were 10-pin rectangular packages, with the pins on them
variously labeled either numerically or alphabetically,
depending on the purpose of the discussion. We might draw
it like so, with the "A" NOR gate on the left and the "B" NOR
gate on the right:

Ignore the fact that the NOR gates now look like little rocket
ships; that may or may not be significant. Rather, the
important things to note are that there are VCC and GND inputs
to power the device, that the "A" gate has pins 1-4 (or J, A, B,
C), and that the "B" gate has pins 6-9 (or D, E, F, K).
If you look along the bottom (LEFT) edge of the signal wiring
diagram, you'll see a repeating pattern (from left to right)
consisting of

So according to the description I just gave, the wire makes a
connection to the following:
Now, if you know anything about electronics, you may be worried
that the outputs of two different NOR gates are tied
together. Don't worry, though, these NOR-gates have
open-collector outputs (or more precisely, open-collector with a
pullup resistor to VCC), and so they can be tied together to
increase their drive capacity (or to effectively increase the
number of NOR inputs for a single output) without any problem.
Perhaps I should finally say what some of these non-NOR
markings along the edges are:
At any rate, the point is that this red wire represents two
NOR-gates tied together to drive connector pin 111. Now, I
didn't mention it before, but this signal wiring diagram happens
to be from sheet 1 of
drawing 2005061D, and if we look at that drawing, we will
indeed find that connector pin 111 is being driven by NOR gates
39107 and 39155.
What is this "inter-quadrant" thing of which I spoke, and for
that matter, what is a "quadrant" anyway?
For these AGC modules, the connector from the module to the AGC
backplane has 4 rows of 69 pins each (numbered 1 to 71, but with
21 and 51 missing). Each one of those rows of pins
essentially has its own circuit associated with it, and these
separate circuits are called "quadrants". The concept of
the "quadrant" was used only for early dash numbers of the
2003100 AGC (such as the one we have schematics for!), and
disappeared for later 2003100 versions, and for the 2003200 and
2003993 AGC's, though much of the numbering of components on the
schematics remains tied to the quadrant concept even if the
quadrants themselves disappeared.
By "separate circuits", I mean logically separate rather than
physically separated onto different circuit boards, though
apparently that was originally what was tried. And
usually, the circuitry on the quadrants isn't entirely
logically independent of the circuitry on the other quadrants,
and in that case there have to be one or more electrical
connections between the quadrants of the module ... i.e.,
inter-quadrant connections.
In fact, the signal wiring diagram I've been showing you isn't
the complete diagram for drawing 2005061D, but simply the signal
wiring diagram for quadrant 1 of 2005061D. There are three
other quadrants, and therefore 3 other signal wiring diagrams
for this module as well. Most modules have a complete
complement of 4 quadrants, and thus have 4 signal wiring
diagrams associated with them. But some modules have less
quadrants and therefore less signal wiring diagrams.
So now all of the questions are answered except for
refd's. For that, I want to direct your attention just
above the row of gate numbers at the bottom edge of the signal
wiring diagram shown above, or just below the row of gate
numbers along the top edge. You'll see a row of tiny, tiny
numbers going from 1 (at the left) to 180 (at the right)
there. Or more accurately, you'll see rows of tiny smudges
that may or may not be numbers, but you can still see that there
are 180 of them. Let's call these things "smudge numbers",
for lack of a better term. The IC's are numbered
sequentially, starting at the end with the larger smudge
numbers, where we find U01, and moving toward the end with the
smaller smudge numbers, where we find U30.
Actually, there's some subtlety involve here. For
example, what happens if there's an open space, as there is in
our pictured signal wiring diagram at U23? Should we just
skip U23 in our numbering altogether, or should the next
position become U23 rather than U24? You could argue it
either way, but I'd vote for skipping U23 altogether, because it
helps preserve IC numbering across different hardware
versions. In other words, if a dual-NOR is removed or
added, it won't necessarily cause all of the refd's for the other
dual-NORs to change. But truthfully, we don't actually
know what the original designers did in this regard.
Another subtlety in the IC numbering is the quadrants:
The entire circuit module consists of 4 quadrants, and if we
followed the scheme just described, there would be 4 IC's
labeled U01, 4 labeled U02, and so on. Not good! So
in our CAD work we actually prefix the quadrant numbers to the
IC numbering. In other words, in quadrant 1, the IC's run
from U101 up to U130; in quadrant 2, the IC's run from U201 up
to U230; etc. Thus every IC ends up with a unique number
within the module, and we can still use that number to precisely
identify where it is located physically.
And finally, one last subtlety: Some of the quadrants
have signal wiring diagrams as shown, with LEFT on the bottom,
RIGHT on the top, and smudge numbers increasing from left to
right. Other quadrants are reversed, with RIGHT on the
bottom, LEFT on the top, and smudge numbers increasing from
right to left. My descriptions above are all still
correct, as long as you keep thinking of LEFT and RIGHT and
ordering of smudge numbers as I've urged, rather than thinking
of the top, bottom, right, and left edges of the signal wiring
diagram as you might otherwise be inclined to do. The
reason for this reversal seems to have to do with some of the
quadrants being on the front side, and some being on the
back side, with the numbering consequently mirror imaged.

For the Block I AGC, problems
similar to those described in the preceding section exist,
though the problems and solutions are different in detail.
In fact, read the preceding section before reading this one so
that you can have some background for the discussion in this
section!
One problem that can thankfully be ignored in the Block I AGC
is that the NOR-gate integrated circuit contains a single
triple-input NOR gate, packaged in a TO-47 can, rather than two
independent NOR gates packaged together in a flatpack, as in the
Block II AGC. That simplifies a lot. You can see
both a photo of such a gate (to the left) and a diagram
elucidating its pinout and internal circuit (to the right).
A problem the Block I "logic flow diagrams" (schematics
containing NOR gates) have that the Block II doesn't have, is
that there were apparently multiple hardware generations of the
Block I AGC that were mechanically quite different. In
particular, both the backplane-connector pin numbers and the
means for identifying the NOR-gate components differed from one
hardware generation to the next. The schematic diagrams,
meanwhile, showed the connector pin numbers and gate
identification for multiple hardware generations, thus making
them a tad more confusing than they might have been otherwise.
We don't actually know much about these different hardware
generations, but here's our current thinking on the
subject. We think there were three separate Block I AGC
hardware generations, which may have differed as
follows:
For example, in the tiny excerpt from one of the
Block I electrical schematics to the left, consider the NOR gate
with the markings "2G5" and "65129". "2G5" was how the gate
was identified in generation "AGC 4", while "65129" was how it was
identified in generation "AGC 5", according to the notes (not
shown) written in the schematic itself. The former are the normal NOR gates, while the latter are the
so-called "expander" or "fan-in" NOR gates, represented in the
electrical schematics by the following two symbols,
respectively:
![]()
As you can see, each of these NOR gates has 4 signals, as it is
supposed to, with the open circle being the output and the solid
circles being the three inputs. As as far as which
of the filled-in black circles represent which inputs to
the NOR gates, we don't actually have enough information about
how the wiring diagrams are interpreted to be able to
tell. On the basis of the fact that these circular objects
visually represent the bottom side of the NOR-gate TO-47 cans
(see the figure at the top right of this section), my
interpretation would be:

Of course, a mirror image of this arrangement, or indeed any
other permutation of pins 1, 2, and 3 would logically be equally
possible.
Note too that some or all of the NOR-gate pins have solid black
lines going to them, and of course these represent the
wires. All of the fat, solid, black lines in the wiring
diagram are wires.
The final factoid needed to interpret the diagram is to note
that each of the circuit halves seems to have wires that exit to
the left or to the right, and then just stop in mid-air, so to
speak, without actually connecting to anything. Notice, however,
that the wires exiting to the left and the right are exactly
paired with each other: for each wire exiting to the left,
there's one at the exact same position vertically exiting to the
right. This is intended to mean that those two dangling
wires are connected together as the same signal. I've
added a couple of blue lines to the diagram to make this point
graphically.
Actually, to avoid being misleading, I should admit that it's a
little trickier than this sometimes. The true is that
there's not necessarily a unique match between the
dangling wires exiting to the left and those to the right, so
sometimes you have to work it out using the schematic as a
reference. The figure below is an excerpt from a different
signal-wiring diagram that shows this ambiguity. I can't
really give you any advice on resolving such ambiguities, other
than to say that if you trace through the wires, you'll
(hopefully always) find that one of the possible connections
makes no sense with respect to the associated schematic, and
that the other one does.

Ignoring complications like that, which are fortunately in the
minority, let's work out an example in detail. Consider
the NOR-gate with CIRCUIT NUMBER "--039" at POSITION NUMBER "02"
at the upper left of the wiring diagram. (You'll have to
click on the wiring diagram image shown earlier to expand it, in
order to understand the description below.) In the wiring
diagram, we see that:
So ... how well does this correspond to what the corresponding
electrical schematic drawing, 1006547G,
says is supposed to be happening? Well, wonder no
more! Here's the relevant excerpt from the schematic, and
as you can see, it is exactly as our interpretation of the
wiring diagram says it ought to be:

Along with the various scanned engineering drawings, CAD
transcriptions, drawing indexes, assembly drilldowns, and
engineering-drawing search engine we provide, there's also a
certain amount of software available to help create and
maintain all of that data. Most of it is undoubtedly
of little use to anybody not intimately involved in such
maintenance. But there are a few programs, such as the drilldown.py
and drilldownCompare.py programs already described above,
that can be of slightly wider (though still very
specialized) utility.
On that chance, this Appendix provides a very-brief rundown
of some of that additional software. Except where
otherwise stated, such software is generally found in the
software repository's "schematics" branch, in the
Scripts/ folder, so you can likely find programs there
that I choose not to mention here.
| Program |
Brief Description |
More Information |
|---|---|---|
| Context:
Transcription to KiCad of G&N electrical
schematics |
||
| MakeConnector.py | Creation of custom KiCad schematic symbols for connectors. | As
far as how to specify the characteristics of a
particular connector configuration, see the comments
in the code itself. What the program
actually creates is a KiCad .lib file that contains
the definition of the connector. In current
practice I treat that .lib file as being temporary,
because I then use KiCad's symbol-library editor to
"import" that symbol from that .lib file into the
"AGC_DSKY" symbol library, and then delete the .lib
file itself. See
also the explanation of connectors in the README. |
| MakeDualNorLib.py | Creation of custom KiCad schematic-symbol libraries for NOR gates. | As far as how to specify the NOR gate library to be created, see the comments within the code itself. Most variations relate to the (hardcoded) power-supply and return signal names, though there are additional configurable items such as expander vs non-expander, display of pin numbers vs no display of pin numbers, numerical pin numbers vs alphabetical pin numbers, and Block II vs Block I vs ND-1021041. What the program actually creates is a KiCad library containing all parts of the multipart symbol, in all variations of ordering of input pins (including missing pins, which are tied to the power-supply return). The only configuration omitted is that of no input pins — i.e., of all input pins being tied to ground. (An oversight on my part.) The library itself should simply be retained permanently along with the other libraries, and is typically named according to the pattern D3NOR-VCC-GND[-OPTIONS].lib. See also the explanation about libraries in the README, and the discussion of NOR gates as well. |
| autoplaceKiCad.py | Semi-automated placement of
connector-pad and NOR-gate symbols into KiCad
schematics. |
See
the extended discussion below |
| printKiCad.sh | Creation of PNG images of KiCad schematic sheets. | Requires bash
(or similar), sed,
and ImageMagick.
The schematic sheet is first "plotted" to Postscript
format in the KiCad schematic editor, and then the
script is run to convert Postscript to PNG. Any
number of Postscript plots can be specified at the
script's command line. The functioning of the
script is quite simple: It uses sed to
stylistically correct dashed lines (whose unalterable
pitch in KiCad is not consistent with the large
physical dimensions of G&N sheets), and then uses
ImageMagick to convert the corrected Postscript to
PNG. See
also the explanation of printing in the README. |
| blockAnnotater.py | Semi-automated correction of
reference designators in KiCad hierarchical schematics
to agree with G&N engineering drawings. |
See
the extended discussion below |
| eelint.awk | Semi-automated correction of artifacts in KiCad schematics, such as wires that are not quite horizontal/vertical or which have short jogs in them. | See
the extended discussion below |
| listConnectors.awk | Generation of list of captioned
connector pads from a KiCad schematic. |
See comments in listConnectors.awk,
listConnectors.sh,
and listConnectorsAllModules.sh |
| Context:
Verilog-based simulation of Block II AGC electrical
schematics. |
||
| pins.txt | Database of Block II AGC backplane
signals |
This is created by opening Mike
Stewart's pin database in sqlite,
and dumping it in CSV format. The options required
are: Space as field delimiter, no quotes around
fields, no header line for field names. |
| bin_to_verilog.py |
TBD | TBD |
| dumbInitialization.py | Creation of a set of flip-flop
initializations. |
See
the Appendix of the digital-simulation page |
| dumbTestbench.py | Creation of a Verilog test-bench
file. |
See
the Appendix of the digial-simulation-page |
| dumbVerilog.py | Conversion of a logic-flow diagram's
netlist to Verilog. |
See
the Appendix of the digital-simulation page |
| extractInstructionsFromTIM.awk | TBD | TBD |
| extractMikeGates.awk | TBD | TBD |
| instruction_trans_decoder.py | TBD | TBD |
| makeGateTranslate.sh | TBD | TBD |
| netlisterOP2.py | TBD | TBD |
| pooh.py (plus normalizedMikeNets.py) | TBD | TBD |
| Context: Verilog-based simulation of Block I AGC electrical schematics | ||
| pinsBlockI.txt | TBD | TBD |
| pinsDbBlockI.awk | TBD | TBD |
| Context: Customization of engineering-drawing search engine: | ||
| tipuesearch.js | The principal code for the
engineering-drawing search engine. |
This code came from Tipue Search,
but has been modified to provide customized formatting
for search results, and could be additionally or
alternately customized for offline usage. The
code itself is here. |
| tipuesearch_content.js | The master engineering-drawing
database in JSON format. |
Probably the only non-obvious thing
thing is that in URLs, the substrings of the form @N@
need to be replaced by prefixes[N]. The
code itself is here. |
| AgcDrawingIndex.py MakeTipueSearch.py |
Creates the engineering-drawing
database from index pages (HTML) on the website. |
Creation of the master
engineering-drawing database is a two-step process, in
which the AgcDrawingIndexXXXX.html pages from
the Virtual AGC website are processed first by
AgcDrawingIndex.py and then by
MakeTipueSearch.py. For more information, refer
to the comments in the
AgcDrawingIndex.py source code. |
| unpunch.py | Extracts metadata and renames
scanned G&N engineering drawings scanned from
aperture cards at NARA SW. |
This would be useful only to someone
who had access to raw scans of boxes of aperture
cards. The code is specific to aperture cards in
which the punched metadata conforms to the
marking-format printed on the cards themselves (or at
least the ones I've seen). G&N drawings in
box range 430-470 (MIT, AC Electronics, Kollsman,
...); I cannot speak for other ranges, but North
American Aviation boxes do not conform.
Nevertheless, the idea behind unpunch.py is sound, so
if it were altered to a different formatting pattern
it could be useful for it as well. See
the extensive comments in the code itself. |
This program assists in semi-automatically placing
connector pads and NOR-gate symbols into a KiCad
schematic. It is used if you are transcribing a
G&N "logic-flow diagram" into KiCad. The
code itself is here.
In creating a CAD transcription of a G&N "logic-flow"
diagram, manual choice of the appropriate connector and
NOR-gate library symbols within the KiCad schematic editor
(which is called "eeschema") can be quite cumbersome and
time-consuming. The autoplaceKiCad.py program greatly
eases and speeds up this process, in my opinion. As
input, the user provides a text file that:
The program then does a sanity check to expose duplicated
pins or gates, or to find various inconsistencies in pin
numbering, inconsistencies in the way individual NOR gates
must be combined into dual-NOR gates, etc. If those
checks pass, it outputs a KiCad schematic containing nothing
except the specified components. That operation looks
something like this:
autoplaceKiCad.py <INPUT.autoplace >OUTPUT.sch
The user can then:
This may sound like a cumbersome operation (and it
is!), but experience shows pretty conclusively that it is
actually quite a bit faster and far less error-prone than
directly manually adding components within the KiCad
editor. At least for me!
IMPORTANT NOTE: The workflow described above
allows autoplacing a bit of the schematic at a time, rather
than autoplacing all components in one pass. That
temptation should be resisted. Sometimes that
piecemeal approach is appropriate, but you have to be very
careful. The thing you have to be sure of is that both
parts of each dual-NOR are handled in the same autoplacement
pass, because otherwise the program will not be
able to be able to assign the same library symbol to the two
parts. Piecemeal work also bypasses a lot of
consistency checking as well, for things like duplicated
parts. These problems will all be discovered later, of
course, if KiCad's design-rule checker is run, but the
inconsistencies will be a lot harder to fix manually in
KiCad than they would have been in INPUT.autoplace.
So it's safest to just have one big INPUT.autoplace
file and to autoplace all of the components in one
pass. You have been warned!
Before continuing, I should probably point out that the
scanned image used for the background image in the schematic
editor has to be prepared pretty carefully if you want it to
be maximally useful. For one thing, if a sheet of the
drawing was scanned in several frames, those frames must be
recombined to produce a single unified image. The image must
be scaled correctly; for example, if the original drawing is
"E" size, then the scanned image must be scaled to be
exactly 44"×34". Moreover, it should be
rotated/stretched in such a way that vertical lines are
vertical and horizontal lines are horizontal, and that the inner
boundary of the drawing's border is 0.5" from the edges of
the image. If the full-resolution scanned image is
loaded into the schematic editor, it's probably going to be
quite logy, or perhaps even unusable. So the PPI of
the background image should probably be changed (whilst
preserving the correct physical dimensions!) as low as you
can stand. Typically, I use 50 PPI, but on some
occasions have gone as low as 20 PPI. I won't trouble
you with exact details how to perform each of these
steps. Rather than loading the background image
scan into the schematic file, it is actually loaded into the
KiCad "template" (*.wks) file for the design, using KiCad's
worksheet editor program. (And removed from it
prior to committing anything to GitHub, please since the
template file will now be enormous!)
In its simplest form, INPUT.autoplace looks
something like this:
This defines a single rectangular block on the schematic, width inches wide, with an upper left-hand corner located x,y inches from the upper-left corner of the schematic. In OUTPUT.sch, the placed component will appear in rows starting at the top of this block and working downward as each row is filled up. In other words, it doesn't place the components exactly where they need to go, but just in the general vicinity. The J and N lines represent symbols to be placed on the schematic, and don't have to appear in the order shown. Plus, there are other kinds of symbols the program can add that I haven't put into the example. These symbol lines can be in any convenient order, though the most convenient order in terms of moving the symbols to their proper locations later are going to involved sweeping through the block row-wise, from left to right.W= width
L x y
J pin1
J pin2
J pin3
...
N gate1 loc1 a1 b1 c1
N gate2 loc2 a2 b2 c2
...
Each J line represents a connector
pin (an oval pad) with the associated pin number (pin1,
pin2, or pin3 in the example shown). W= 10But this just scratches the surface. In no particular order, here are some of the other variants that can be briefly described:
L 13.5 1.2
J 153
J 154
J 155
...
N 38125 40 F E D
N 38126 41 F _ E
...
There are also O
lines ("oh", not "zero"), not shown in the example, of the
form "O netname", such as "O DAS0/".
These place a symbol having just one pin (exiting to the right)
that looks like a small open circle with a label next to
it. This is a common way to represent intrasheet
connections in G&N schematics.
"block1".
Indicates an official Block I drawing. In such
circuits, the chips have one NOR-gate each (rather than
two), and the input pins are "1", "3", "5" (and "_" or
";" if missing) rather than "A", "B", "C", "D", "E",
"F". Moreover, there were two separate
implementations of the circuits, referred to as AGC4 and
AGC5, resulting in two separate NOR-gate gate codes and
two separate pin numbers for each backplane-connector
pad. The formats in INPUT.autoplace were
altered accordingly: "N loc gateAGC4
gateAGC5 pin1 pin2 pin3" and "J pinAGC4
pinAGC5 signal". The AGC5 gate codes
are the usual 5-digit numbers, but the AGC4 gate codes
are like "1F4" or "2D3".Also
see the explanation of reusable circuit blocks in the
README file.
In transcribing Apollo G&N electrical schematics to
CAD, we want all component reference designators to match
those used in the G&N engineering drawings, and we
particularly want reference designators appearing in
netlists and electrical simulations to be accurate with
respect to the original drawings. This is not a
problem for most transcribed drawings but becomes a problem
for some schematics of analog circuitry in which the circuit
comprises hierarchical blocks which appear in multiple
instances. For example, suppose the main circuit had a
block (let's call it block "P") which is used 5 times.
In KiCad, the natural way to deal with this is a process
called "annotation", in which KiCad assigns distinct
reference designators to each component appearing in each
instance of block "P". Natural or not, the rules
applied by KiCad do not correspond to the reference
designators in the G&N engineering drawings
themselves. For example, if there were a resistor that
we had called R3 in block "P", KiCad might annotate those 5
instances of the resistor as R3, R101, R201, R301, and R401,
whereas the G&N drawings might refer to them as 1R3,
2R3, 3R3, 4R3, and 5R3. The latter, of course, is what
we want.
Working around this problem involves a semi-automated
process with several steps:
In the top-level drawing, the
hierarchical blocks with multiple instances have to be
given sheet names corresponding to the prefixes attached
to the reference designators in them. Usually,
these will be sheet names "1", "2", "3", and so on.
In fact, blockAnnotater.py will strip any suffixed
non-digit characters from the sheet names, as well as
certain prefixes ("--", "xx", "XX") so sheet names like
"1P" or "xx5Q" can be used just as easily as "1" or "5",
if necessary to more-closely match the appearance of the
original drawings. As for where these numerical
prefixes come from, they cannot be deduced from the
schematics, but instead have to be pulled from associated
engineering drawings for the assembly containing the
circuit, such as from photographic
masters of insulators, wiring
boards, etc.The actual reference designators assigned in the reusable
blocks by blockAnnotator.py are
This is the appropriate formula in most cases, but there
are a few cases in which the prefixes derived from the
parent sheet name simply don't correspond to the
chile-component prefixes in the engineering drawings.
A numerical offset can be defined that changes the formula
instead to
(prefix derived from parent sheet name + numerical offset) concatenated to (child component baseRefd)
(Notice that the "+" is meant to be a numerical
addition.) The way this is done is by tweaking one of
the 4 comment fields of the child schematic. If any of
these comments is changed to
then N is used as a numerical offset to the
component prefixes within that child block.
At present, only two levels of drawings (parent + child)
are supported, and this has proven sufficient for all
G&N schematics encountered so far. If any
three-level drawings (parent + child + grandchild) are ever
discovered, the software will need to be reworked.
Regarding the two different options listed above as to how
to treat components' true reference-designator fields, both
options have arguments in their favor. If the true
reference designators are made invisible, the schematics
(and in particular their PNG renderings) will look just like
the original drawings. On the other hand, particularly
in editing the CAD files, it obscures the fact that the
markings shown are not the true reference
designators, as well as obscuring the fact that the
different instances of the block have different reference
designators. The choice as to whether or not to
display the true reference designators is therefore
partially a question of personal aesthetics.
Actual details of usage and additional documentation can be
found in the
blockAnnotater.py source code.
In manually editing G&N schematics in KiCad's schematic
editor — and in particular, in adapting an existing CAD file
for a different but similar version of the circuit — it's
extremely easy to leave it littered with junky-looking
constructs such as:
The program eelint.awk analyzes a schematic to find such
problems. In its simplest form, the program is run as
follows:
